Registrada pela Nintendo em 2014, patente de aparelho com câmera e detecção de objetos é revelada
Por Victor Souza
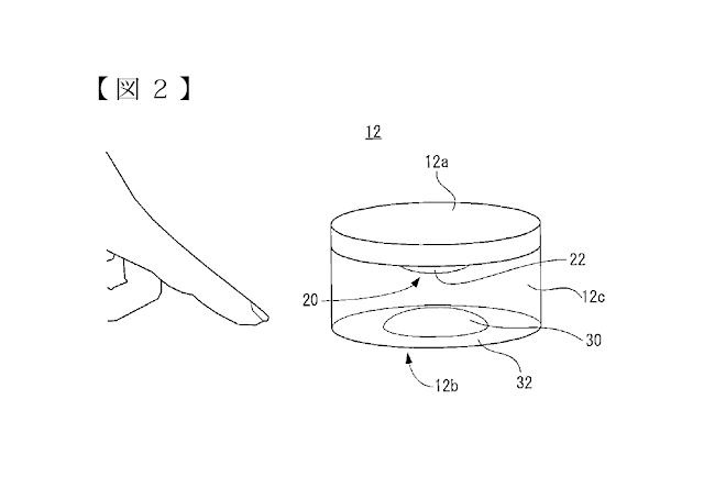
Um novo curioso projeto elaborado pela Nintendo foi descoberto. Embora trate-se de um registro feito em 2014, ele só foi revelado ao longo do último dia 5 de abril, através da plataforma de patenteamento J-Plat Pat. A ideia mostrada traz uma série de detalhamentos peça por peça do tal produto, com algumas imagens mostrando um aparato bem semelhante ao leitor NFC de 3DS, lançado em 2015 pela Nintendo.
O aparelho cita o uso de uma câmera, capaz de fotografar e identificar objetos dentro de seu alcance de visão. Há uma série de ilustrações que servem de exemplo para o uso da câmera, sendo que, curiosamente, uma das imagens mostra duas figuras muito semelhantes aos amiibos, mas sem haver qualquer menção específica aos bonecos.
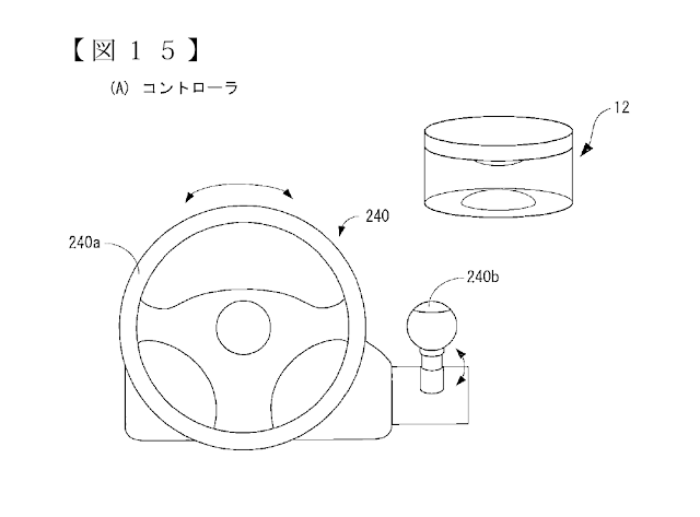
Seguindo em demais imagens de exemplificação, é possível ver diferentes itens acoplados ao produto. Além disso, é indicado que ele poderia se conectar com outros aparelhos, tais como computadores e controles.
Por fim, fica como último detalhe que essa é terceira patente feita em nome de Fumihiko Inoue, um dos principais engenheiros da Big N, tendo participado no desenvolvimento do circuito interno do 3DS. A Nintendo ainda não se pronunciou sobre o assunto. Se quiser tentar ver mais detalhes, confira uma postagem no site NeoGAF, que fez uma tradução e descrição do produto.
Será que temos apenas mais uma ideia engavetada, como foi o Vitality Sensor, ou estamos olhando para algo ligado ao NX?
O aparelho cita o uso de uma câmera, capaz de fotografar e identificar objetos dentro de seu alcance de visão. Há uma série de ilustrações que servem de exemplo para o uso da câmera, sendo que, curiosamente, uma das imagens mostra duas figuras muito semelhantes aos amiibos, mas sem haver qualquer menção específica aos bonecos.
Seguindo em demais imagens de exemplificação, é possível ver diferentes itens acoplados ao produto. Além disso, é indicado que ele poderia se conectar com outros aparelhos, tais como computadores e controles.
Por fim, fica como último detalhe que essa é terceira patente feita em nome de Fumihiko Inoue, um dos principais engenheiros da Big N, tendo participado no desenvolvimento do circuito interno do 3DS. A Nintendo ainda não se pronunciou sobre o assunto. Se quiser tentar ver mais detalhes, confira uma postagem no site NeoGAF, que fez uma tradução e descrição do produto.
Será que temos apenas mais uma ideia engavetada, como foi o Vitality Sensor, ou estamos olhando para algo ligado ao NX?





